- Кабель АВБбШв
- Кабель АВБбШвнг
- Кабель АСБ
- Кабель АСБл
- Кабель ВБбШв
- Кабель ВБбШвнг
- Кабель ВВГ
- Кабель ВВГнг
- Все категории
- Кабель ВВГнг-FRLS
- Кабель ВВГнг-LS
- Кабель ВВГ-Пнг(А)-LS
- Провод АС
- Провод СИП
- Провод СИП-2
- Провод СИП-3
- Провод СИП-4
- Кабель АПвБбШв
- Кабель АПвБбШп
- Кабель АПвБбШпг
- Нагревательный кабель Теплолюкс ССТ
- Нагревательный кабель Raychem
- Нагревательный кабель Nexans
- Нагревательный кабель IQWATT
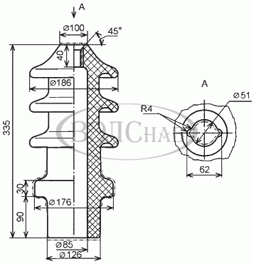
Изолятор ИПТ-10/3150.Б01
по запросу | Купить в 1 клик |
Технические характеристики
| Номинальное напряжение | 10 кВ |
| Марка изолятора | ИПТ-10/3150.Б01 |
| Масса, кг | 9 |
| Длина пути утечки тока, см | 30 |
| Номинальный ток, А | 3200 |
Назначение изолятора ИПТ-10/3150.Б01
Изолятор проходной трансформаторный используется на силовых трансформаторах переменного тока. Изолятор входит в комплектацию съемных вводов тока и предотвращает попадание переменного тока частотой 50-60 Гц на элементы конструкции трансформатора.
Конструкция изолятора ИПТ-10/3150.Б01
Изолятор ИПТ представляет собой изделие, выполненное из диэлектрического материала (в данном случае из фарфора). Изоляторы изготавливаются в форме небольших цилиндров.
Сфера использования изолятора ИПТ-10/3150.Б01
Как уже упоминалось ранее, неармированные проходные трансформаторные изоляторы используются на трансформаторах, которые есть в городских и промышленных сетях электроснабжения. Отметим, что изоляторы данного типа могут устанавливаться как под открытым небом, так и в помещениях.
Условия эксплуатации изолятора ИПТ-10/3150.Б01
Изоляторы проходные трансформаторные будут бесперебойно выполнять свои функции, если эксплуатировать их при следующих условиях:
- температура, при которой используется трансформатор не опускается ниже минус 60о С и не поднимается выше плюс 40о С;
- высота установки изолятора проводного трансформаторного данного типа не должна превышать 1000 метров над уровнем моря;
- изоляторы не следует подвергать механическим воздействиям, которые могут повредить хрупкий фарфоровый корпус.
Срок эксплуатации изоляторов ИПТ-10/3150.Б01
Изоляторы рассчитаны на эксплуатацию в течение долгого времени. Учитывая то, что срок службы съемных вводов переменного тока составляет не менее 25 лет, то в течение этого времени также могут использоваться и изоляторы, являющиеся частью съемного ввода тока в трансформатор.
Резюме
Изолятор трансформаторный проходной является устройством, которое используется на трансформаторах в качестве части съемного ввода тока. Качественные изоляторы ИПТ-10/3150.Б01 можно приобрести со складов компании «Вольт-Сервис», которая является одним из признанных лидеров в поставках электрооборудования по всей территории РФ. Продукция, которую реализует «Вольт-Сервис», отличается высоким качеством и умеренными ценами!

Товары из этой категории








