- Кабель АВБбШв
- Кабель АВБбШвнг
- Кабель АСБ
- Кабель АСБл
- Кабель ВБбШв
- Кабель ВБбШвнг
- Кабель ВВГ
- Кабель ВВГнг
- Все категории
- Кабель ВВГнг-FRLS
- Кабель ВВГнг-LS
- Кабель ВВГ-Пнг(А)-LS
- Провод АС
- Провод СИП
- Провод СИП-2
- Провод СИП-3
- Провод СИП-4
- Кабель АПвБбШв
- Кабель АПвБбШп
- Кабель АПвБбШпг
- Нагревательный кабель Теплолюкс ССТ
- Нагревательный кабель Raychem
- Нагревательный кабель Nexans
- Нагревательный кабель IQWATT
Изолятор ИОР-20-7,5 УХЛ2
по запросу | Купить в 1 клик |
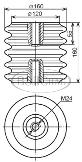
Технические характеристики
| Номинальное напряжение | 20 кВ |
| Марка изолятора | ИОР-20-7,5 УХЛ2 |
| Масса, кг | 6,2 кг |
| Климатическое исполнение | УХЛ2 |
| Минимальная разрушающая сила, кН | 7,5 кН |
Опорный изолятор ИОР-20-7,5 УХЛ2 применяется для крепления токоведущих элементов электрического оборудования и распределительных аппаратов.
Изолятор ИОР-20-7,5 УХЛ2 выполнен в категории УХЛ2, что позволяет устанавливать его в регионах с умеренным (У) или холодном (ХЛ) климате, на площадках расположенных как внутри помещений, так и снаружи, но защищенных от прямых попаданий осадков. Для увеличения длины пути тока утечки поверхность изолятора выполнена ребристой.
Изолятор изготовлен из особого вида электротехнической керамики, что позволило получить изделие с высокими диэлектрическими свойствами. Обжиг фарфорового корпуса изолятора ИОР-20-7,5 УХЛ2 проводится при высокой температуре, что позволяет получить плотную структуру. Термическая обработка проводится два раза: первый раз - только фарфор, второй раз после нанесения эмали, которая служит для защиты керамики от внешних воздействий.
Арматура изолятора имеет внутреннюю заделку и выполнена из фасонных вкладышей, расположенных в специальных нишах корпуса.
Изоляторы ИОР-20-7,5 УХЛ2 могут работать в установках с напряжением до 20 кВ.
При маркировке изолятора, для обозначения его характеристик, применяются следующие буквы:
- И – вид изделия – изолятор;
- О – тип изделия – опорный;
- Р – изолятор имеет ребристую поверхность;
Кроме буквенных обозначений для маркировки изоляторов применяются также числа. Первая цифра маркировки указывает к номинальное рабочее напряжение в кВ, вторая обозначает минимальное усилие для разрушения при нагрузке на изгиб.
Для обозначения варианта использованных при армировке вкладышей изолятора могут встречаться римские цифры I, II и III.
Вольт-Сервис является официальным дилером производителя качественных фарфоровых изоляторов, что гарантирует Вам прямые бесперебойные поставки, низкие цены при стабильно высоком качестве изделий. Большой ассортимент изоляторов всегда в наличии на нашем ростовском складе. Собственный парк автотранспорта позволит в кратчайшие сроки решить вопрос по доставке изоляторов к Вам или до терминала транспортной компании.
|
|
Нужен другой изолятор?
В нашем каталоге есть большой ассортимент изоляторов опорных: , ,
Товары из этой категории









